服務熱線
021-33617555
全國服務熱線:
021-33617555
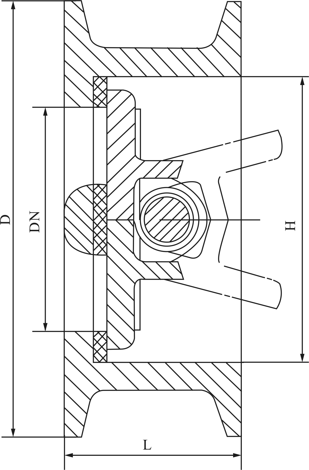
H77/H76對夾式雙瓣止回閥用于純凈管路及工業、環保、水處理、高層建筑給排水管路,阻止介質逆向流動之用.
產品特點:止回閥安裝在管路系統,其主要作用是防止介質倒流,止回閥是一種依靠介質壓力開啟和關閉的自動閥門。以往國內普遍采用的是H44型法蘭連接旋啟式止回閥和H41型法蘭連接升降式止回閥,這種傳統的止回閥體積笨大,流體阻力大,閥門關閉時水錘壓力高,安裝、維修難,使用壽命短。
H77/H76對夾式雙瓣止回閥:
結構特點及用途Structures charcteristic and usahe
該閥采用對夾式安裝,主要用于管路中或水泵出口處,用于水泵停機時防止管路中介質倒流,壓差水錘沖擊水泵倒轉的安全裝置。本閥
具有體積小、重量輕、便于安裝維修,有導向裝置,關閉靈活、快速,防止巨大介質倒流壓差,形成消聲效果。
適用于給排水、消防、暖通等管路或泵出口,以防止介質倒流水錘沖擊對管路與泵的損害。


